WePC的“全球TikTok_VPS”系列其中有一款“美国洛杉矶GTT/NTT_216/192家宽直播”,商家说因为这两个线路、IP质量不相上下,就放在一个产品中销售。VPS小学生的测试机是216开头的GTT套餐,如果是NTT套餐的话是192开头的。开机的时候无法选择是GTT或者NTT,如果有特殊要求可以购买后联系客服更换。这里VPS小学生就测试下随机开通的这台WePC美国洛杉矶GTT-NTT家宽直播VPS的性能供大家参考。
测评同款配置:2核CPU、512MB DDR4内存、10GB SSD硬盘、1.5TB双向流量、200Mbps带宽、1个IPv4,16.9澳元/月,50.7澳元/季,202.8澳元/年,点此入手
WePC全球TikTok_VPS其他机房,点此入手
注意,WePC美国家宽系列无法使用优惠码,其他系列可以使用如下优惠码:
WePC优惠码WePCMON90 9折优惠,月付/季付可用(台湾新加坡及美国家宽系列无效)
WePC优惠码WePCYEAR80 8折优惠,年付可用(台湾新加坡及美国家宽系列无效)
WePC最新促销活动:http://www.vpsxxs.com/tag/wepc/
WePC美国洛杉矶GTT-NTT家宽直播VPS硬件测试

WePC美国洛杉矶GTT-NTT家宽直播VPS硬件测试
首先看一下WePC美国洛杉矶GTT-NTT家宽直播VPS的硬件测试。可以看看到是用的AMD EPYC 7662处理器,双核2.0GHz的频率,CPU性能不错。读出来487M的内存,没有默认的虚拟内存。10GB硬盘都读出来了,硬盘平均读写速度544MB/s,硬盘性能也还行。硬件整体性能还行,CPU不错,可看到是KVM虚拟化的,VPS小学生手动安装了原生BBR。
WePC美国洛杉矶GTT-NTT家宽直播VPS网络测试
VPS小学生博客的老读者都知道按说这里应该测试上传下载速度了,不过不知道为什么,一用脚本检测WePC美国洛杉矶GTT-NTT家宽直播VPS的上传下载速度就掉线,猜测可能跑测速脚本被机房当成DDOS给送黑洞了,所以还是看看延迟吧。

WePC美国洛杉矶GTT-NTT家宽直播VPS国内ping
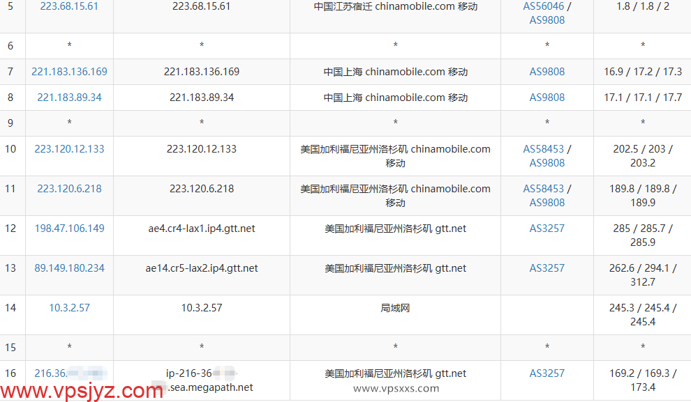
WePC美国洛杉矶GTT-NTT家宽直播VPS到国内的平均延迟171ms,延迟很不错啊,如果是美国双ISP的话延迟180ms都算优秀了,这延迟低到171ms很不错,而且这个套餐的产品页也没说走优化线路,能有这个低延迟很适合做Tiktok直播直接使用。来看看具体的三网路由:

WePC美国洛杉矶GTT-NTT家宽直播VPS电信去程路由

WePC美国洛杉矶GTT-NTT家宽直播VPS电信回程路由

WePC美国洛杉矶GTT-NTT家宽直播VPS联通去程路由

WePC美国洛杉矶GTT-NTT家宽直播VPS联通回程路由

WePC美国洛杉矶GTT-NTT家宽直播VPS移动去程路由

WePC美国洛杉矶GTT-NTT家宽直播VPS移动回程路由
可以看到,WePC美国洛杉矶GTT-NTT家宽直播VPS电信去程经过圣何塞直连洛杉矶,延迟很低,回程是借道联通AS9929线路直连回程,延迟也很低;联通去程是走自己的AS4837线路直连,回程是走AS10099+AS2292优化线路直连回程;移动去程是走CMI线路直连,但是延迟比较高,回程还是借道联通AS9929线路回程。等于三网去程直连,三网回程强制走联通AS9929优化线路直连回程,完全可以当做优化线路服务器宣传的好路由。

WePC美国洛杉矶GTT-NTT家宽直播VPS网络质量体检报告
从WePC美国洛杉矶GTT-NTT家宽直播VPS网络质量体检报告可以看到三网去程延迟都比较低,总体而言联通延迟更低一些。三网回程确实都强制走9929线路。到洛杉矶同机房没有延迟,到其他海外节点延迟也比较低。

WePC美国洛杉矶GTT-NTT家宽直播VPS ping.pe丢包测试
WePC美国洛杉矶GTT-NTT家宽直播VPS到国外和国内节点基本都没有丢包,丢包率也很低。
WePC美国洛杉矶GTT-NTT家宽直播VPS看视频

WePC美国洛杉矶GTT-NTT家宽直播VPS是否原生IP检测

WePC美国洛杉矶GTT-NTT家宽直播VPS流媒体解锁能力测试
至少VPS小学生随机开通的这台WePC美国洛杉矶GTT-NTT家宽直播VPS是美国原生IP,能原生解锁美国Tiktok、美国Netflix、美国人工智能平台和大部分美区流媒体,大家可以看下有没有自己需要的解锁能力。

WePC美国洛杉矶GTT-NTT家宽直播VPS ipip.la是否住宅IP检测

WePC美国洛杉矶GTT-NTT家宽直播VPS IP质量体检报告

WePC美国洛杉矶GTT-NTT家宽直播VPS ping0.cc是否家庭IP检测
ipip.la认为WePC美国洛杉矶GTT-NTT家宽直播VPS是双ISP,都是GTT的家宽IP,也是美国原生IP。IP质量体检报告也认为是美国原生IP,大部分数据库也认为是美国家宽IP,大部分数据库同样认为IP纯净度还不错,流媒体解锁也是全绿。ping0.cc同样认为是双ISP美国家庭带宽IP,IP也很纯净。看来是原生美国双ISP家庭IP无疑了。

WePC美国洛杉矶GTT-NTT家宽直播VPS看youtube
VPS小学生本地是移动带宽,用WePC美国洛杉矶GTT-NTT家宽直播VPS看视频有9万+的速度,非常流畅的看4K的清晰度。当然这个速度跟美西纯优化线路没法比,但是美国双ISP服务器有这个速度已经不错了,做TK直播大概率也是无需中转了。因为三网强制都是回程走联通AS9929优化线路,所以本地是电信带宽的朋友看视频估计也是这个速度,本地是联通带宽的朋友看视频速度应该会更快一些。
以上就是VPS小学生对WePC美国洛杉矶GTT-NTT家宽直播VPS的测评。可以看到WePC美国洛杉矶GTT-NTT家宽直播VPS硬件上CPU性能不错,其他也没拖后腿。到国内的延迟比较低,三网去程直连,回程三网强制走AS9929优化线路,算是不错的回程线路。单纯用来看视频9万+的速度对美西机房来说不算优秀,不过也算是够用了。当然最主要的是基本所有脚本都认为是美国GTT双ISP,非常干净的美国原生家庭IP,非常适合做Tiktok短视频直播运营、FB视频直播、抢票等需要美国家宽IP的朋友。总之,如果单纯用来看视频的话不太合适,但是如果用来做Tiktok运营,而且不想中转,想直接使用落地机直播美国Tiktok不卡顿的话,WePC美国洛杉矶GTT-NTT家宽直播VPS还是非常值得入手一试的。
WePC最新促销活动:http://www.vpsxxs.com/tag/wepc/
vps加油站

























