荫云主营就是海外住宅IP VPS,但是其他地区直接就说是双ISP,比如VPS小学生测评过的荫云日本(扩展阅读:荫云日本双ISP VPS测评:日本家宽原生IP,IP纯净度极高,Tiktok推流好,TK直播需中转)、荫云香港HGC(扩展阅读:荫云香港HGC VPS测评:所有脚本都认为是双ISP原生香港家庭IP,IP纯净度极高,但是网络比较差)、荫云英国(扩展阅读:荫云英国双ISP VPS测评:原生英国家庭IP,25端口开放,跑满带宽看视频10万+速度,Tiktok直播优秀)机房。目前(2026年2月)只有中国台湾机房服务器介绍页只说是原生IP,没有说是ISP,至少荫云这点还是很真诚的。因为如果真是台湾ISP住宅IP的话,价格可要贵几倍了。不过如果是台湾原生IP的话性价比也是很高了。荫云支持支付宝、Stripe、USDT付款,购买也方便,这里VPS小学生就测试下荫云台湾原生IP VPS的性能供大家参考。
测评同线路最低配置:1核CPU、1G内存、10GB SSD硬盘、1TB流量、200Mbps带宽、1个IPv4、6美元/月(优惠码JG1A3D24WQ,优惠码如果过期请使用vpsxxs),点此入手
测评同款:2核2G 20GB SSD、2TB流量、300Mbps带宽,9美元/月(优惠码同上),点此入手
荫云最新促销活动:http://www.vpsxxs.com/tag/yinyun/
荫云台湾原生IP VPS硬件测试

荫云台湾原生IP VPS硬件测试
首先看一下荫云台湾原生IP VPS的硬件测试。可以看到是用的AMD EPYC系列处理器,具体哪款没读出来,读出来是双核2.90GHz的频率。读出来1979M的内存。荫云在后台安装系统的时候可以选择256M到2G的虚拟内存,VPS小学生这里是用的默认的512M,建议大家使用的时候选2G虚拟内存。20GB硬盘也都读出来了,硬盘平均读写速度276MB/s。硬件上CPU不错,内存和硬盘都一样,不过也没拖后腿。可以看到是KVM虚拟化的,VPS小学生手动安装了原生BBR。
荫云台湾原生IP VPS硬件测试

荫云台湾原生IP VPS到国内外上传下载速度测试
VPS小学生这台荫云台湾原生IP VPS测试机是300M带宽的,国内外下载速度基本跑到280M了。对国人用户更重要的上传速度来说,基本上跑满300M的带宽了。上传能跑满带宽的台湾机房表现很优秀了。

荫云台湾原生IP VPS国内ping
荫云台湾原生IP VPS到内地的平均延迟217ms,不用想肯定全球绕了,而且最近鲨鱼咬海底光缆比较频繁,好几个线路都没修好,大部分台湾机房到内地的延迟都比较差。来看看具体的三网路由:

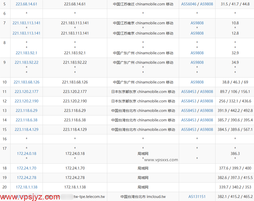
荫云台湾原生IP VPS电信去程路由

荫云台湾原生IP VPS电信回程路由

荫云台湾原生IP VPS联通去程路由

荫云台湾原生IP VPS联通回程路由

荫云台湾原生IP VPS移动去程路由

荫云台湾原生IP VPS移动回程路由
可以看到,荫云台湾原生IP VPS电信去程经过香港机房直连,延迟也挺低的,回程好奇怪竟然绕到德国,延迟非常高;联通去程绕日本,算是绕的比较近,延迟其实还行,回程是直连回程延迟也比较低;移动去程也是绕日本但是延迟较高,不过回程也是直连回程延迟比较低。等于电信去程、联通移动回程直连,其实这路由还行,就看大家本地是什么网络了。

荫云台湾原生IP VPS网络质量体检报告
荫云台湾原生IP VPS网络质量体检报告这里可以看到整体而言移动延迟最低,联通延迟比较高,电信延迟最高。回程都是走三网各自最便宜的线路。不过到香港东京新加坡这些东南亚机房延迟比较低。
荫云台湾原生IP VPS看视频

荫云台湾原生IP VPS是否原生IP检测

荫云台湾原生IP VPS流媒体解锁能力测试
至少VPS小学生的这台荫云台湾原生IP VPS确实是台湾原生IP,能原生解锁台湾Tiktok、台湾Netflix、台湾人工智能平台和大部分台区流媒体,大家可以看下有没有自己需要的解锁能力。

荫云台湾原生IP VPS ipinfo.io是否住宅IP检测

荫云台湾原生IP VPS IP质量体检报告

荫云台湾原生IP VPS ping0.cc是否家庭IP检测
荫云台湾原生IP VPS在ipinfo.io检测出来两个type的值分别是“hsoting”“business”,并不是ISP的IP,撑死是商宽。不过IP质量体检报告认为不管是IPv4还是IPv6都是台湾原生IP,并且IPv4的IP纯净度非常高,流媒体解锁全绿,而且罕见的25端口可用,除了Gmail和QQ之外大部分邮箱通讯也正常。ping0.cc同样认为是普通IDC机房IP,不过也同样认为是台湾原生IP,IP纯净度也还行。难得所有脚本都一致认为是台湾原生IP。

荫云台湾原生IP VPS看youtube
VPS小学生本地是联通带宽,用荫云台湾原生IP VPS看视频有16万+的速度,非常流程的看4K的清晰度。台湾机房能有这个速度很惊人了,而且联通只是回程直连而已,看来之前测试的三网上传下载都跑满带宽是不虚的。根据之前路由测试,本地是移动带宽的朋友看视频估计也是这个速度,本地是电信带宽的朋友估计速度要慢一些了。
荫云台湾原生IP VPS搭建网站

荫云台湾原生IP VPS安装宝塔建站面板
荫云台湾原生IP VPS在安装宝塔建站面板并配置默认的LNMP环境之后,占用了577M的内存和5GB的硬盘,建站的话建议还是至少入手VPS小学生测评的这款或者配置更高一些的,这样剩余资源更充裕一些。而且因为是台湾原生IP,面向东南亚用户搭建外贸站的话也有一定优势。
以上就是VPS小学生对荫云台湾原生IP VPS的测评。可以看到荫云台湾原生IP VPS硬件上CPU还不错,内存硬盘一般。到内地的延迟比较高,一半直连一半绕路,具体来说就是于电信去程、联通移动回程直连,其他绕路。不过上传下载速度都能跑满带宽这点很优秀,估计就是因为这个的原因所以看视频能有16万+的速度,对于台湾机房来说速度很优异了。当然这款产品也符合自己的最大卖点,就是所有脚本和平台都认为确实是台湾原生IP,IP纯净度非常高,台湾流媒体、人工智能平台解锁优秀,而且还罕见的开放了25邮箱端口。所以对于想要台湾机房服务器用来搭建网站、看视频、看台区流媒体、使用台区人工智能平台和做台湾Tiktok但是不要强求IP的朋友来说,荫云台湾原生IP VPS还是非常值得入手的!
荫云最新促销活动:http://www.vpsxxs.com/tag/yinyun/
vps加油站

























