荫云前段时间上线了香港VPS,产品介绍页说是香港双ISP VPS,据说是香港HGC家宽住宅ip ,最低配200Mbps带宽,最高配500Mbps带宽。对于有香港机房落地机需求的朋友来说,香港HGC家宽已经是非常好的选择了,荫云是主打国内外住宅IP VPS的,因为支持支付宝和USDT付款,国内用户也不少,这里VPS小学生就测试下300Mbps带宽的荫云香港HGC VPS的性能供大家参考。
测评同线路最低配置:1核CPU、1G内存、10GB SSD硬盘、1000GB月流量、200Mbps带宽、1个IPv4、7美元/月(优惠码vpsxxs,支持支付宝、Stripe、USDT),点此入手
测评同款:1核CPU、2G内存、20GB SSD硬盘、2000GB月流量、300Mbps带宽、1个IPv4、9.8美元/月(优惠码vpsxxs),点此入手
荫云最新促销活动:http://www.vpsxxs.com/tag/yinyun/
荫云香港HGC VPS硬件测试

荫云香港HGC VPS硬件测试
首先看一下荫云香港HGC VPS的硬件测试。处理器什么型号的没读出来,只读出来是Xeon系列处理器,双核2.0GH频率,核心数量倒是可以,就是频率低了些。读出来1979M的内存,虚拟内存在后台安装系统的时候可选0~1.5G,这里VPS小学生用的是默认的512M。20GB硬盘都读出来了,硬盘平均读写速度291MB/s,硬盘读写速度也一般。硬件整体性能都很一般,可以看到是KVM虚拟化的,VPS小学生手动安装了原生BBR。
荫云香港HGC VPS网络测试

荫云香港HGC VPS到国内外上传下载速度测试
VPS小学生的这台荫云香港HGC VPS是300M带宽,到国内外下载速度基本都在250M以上,对中国用户来说更重要的上传速度来说,内地节点基本都在190M左右,港台等亚太节点基本都跑满300M的带宽,上传速度还是不错的。
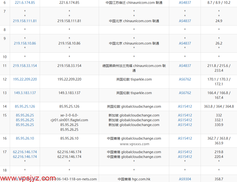
因为荫云香港HGC VPS是香港家宽ip,默认是禁止ping的,所以没法看整体ping图和港内的路由,不过看内地到香港的路由还是可以的,下面就是具体的三网路由:

荫云香港HGC VPS电信去程路由

荫云香港HGC VPS电信回程路由

荫云香港HGC VPS联通去程路由

荫云香港HGC VPS联通回程路由

荫云香港HGC VPS移动去程路由

荫云香港HGC VPS移动回程路由
可以看到,荫云香港HGC VPS电信是先绕到美国然后回到香港,回程还是绕到美国,延迟高的很;联通去程先绕到欧洲然后又绕到新加坡才到香港,回程还是绕到美国;移动去程先绕到美国又绕到日本才到香港,回程除了广东移动直连,剩下的不是绕美国就是绕新加坡。等于三网往返都绕路,还绕的比较厉害,延迟都比较高。

荫云香港HGC VPS网络质量体检报告
从荫云香港HGC VPS网络质量体检报告也能看到延迟是比较高的,电信163联通4837移动cmi,除了到香港新加坡,到其他地方网络都不怎么好。
荫云香港HGC VPS看视频

荫云香港HGC VPS是否原生IP检测

荫云香港HGC VPS流媒体解锁能力测试
至少VPS小学生的这台荫云香港HGC VPS是香港原生IP,能原生解锁香港Netflix、香港Disney+和大部分香港本土流媒体,大家可以看下有没有自己需要的解锁能力。另外TK和人工智能平台本来就不在中国香港地区提供服务,不是IP不解锁。

荫云香港HGC VPS ipinfo.io是否住宅IP检测

荫云香港HGC VPS IP质量体检报告

荫云香港HGC VPS ping0.cc是否家庭IP检测
从ipinfo.io检测到荫云香港HGC VPS两个type的值都是“isp”,确实是双ISP无疑。IP质量体检报告认为是香港原生IP,所有脚本都认为是香港家宽IP,所有脚本也都认为IP没有任何风险!这IP质量真是罕见的干净啊。ping0.cc也认为是香港原生IP,同时也认为是香港家庭带宽IP,IP纯净度也还不错。

荫云香港HGC VPS看youtube
VPS小学生本地是联通带宽,用荫云香港HGC VPS看视频有5万+的速度,能看4K的清晰度,但是缓冲时间稍长。之前测试内地上传带宽基本都快200M了其实完全够用,但是三网路由延迟都太高了,所以直接用来看视频速度不佳,最好还是找个中转机。
荫云香港HGC VPS搭建网站

荫云香港HGC VPS安装宝塔建站面板
荫云香港HGC VPS在安装宝塔建站面板并配置默认的LNMP环境之后,占用了418M的内存和5GB的硬盘,剩余资源搭建个网站倒是够用的,但是到内地的三网路由太差,不适合面向内地用户建站。因为是香港家宽IP,面向东南亚用户建站还是比较适合的。
以上就是VPS小学生对荫云香港HGC VPS的测评。可以看到荫云香港HGC VPS的硬件很一般,到内地的延迟还高,三网绕路路由也差。好在上传下载速度其实还是不错的。当然最主要的是确实是香港原生IP双ISP家宽,所有脚本都认为是香港家宽IP,而且IP纯净度非常少见的特别干净,对于想要真实香港家庭IP做账号注册、外贸运营的朋友来说,荫云香港HGC VPS非常值得入手,只是如果对延迟要求高的话,最好还是用香港优化线路机房中转一下使用。
荫云最新促销活动:http://www.vpsxxs.com/tag/yinyun/
vps加油站


























