丽萨主机之前已经有virgin media的英国住宅IP(扩展阅读:丽萨主机英国新住宅IP VPS测评:双ISP英国家宽,IP纯净度超高,英国Tiktok运营必备),只是virgin media住宅IP一直卖光中。有货的是英国catixs 原生IP段(扩展阅读:丽萨主机英国catixs VPS测评:双ISP英国原生IP,移动往返CMIN2电信联通回程AS9929,看视频11万+速度,TK直播无需中转)。这次丽萨主机又在英国机房进阶版、豪华版这两个套餐上线英国GTT住宅IP,据说线路不如catixs,但是ping0显示家宽,scamalytics零欺诈值,符合不少做Tiktok短视频外贸运营朋友的口味。这次VPS小学生入手了一款低配的丽萨主机英国进阶版,这里就测试下丽萨主机英国GTT住宅VPS的性能供大家参考(支持支付宝和USDT)。
进阶版:2核CPU、2G内存、10GB NVMe硬盘、8TB月流量、500Mbps带宽、1个IPv4,90元/月(优惠码TS-CBP205DQJE),点此购买
豪华版:4核CPU、4G内存、20GB NVMe硬盘、20TB月流量、1Gbps带宽、1个IPv4,270元/月(优惠码TS-CBP205DQJE),点此购买
丽萨主机最新促销活动:http://www.vpsxxs.com/tag/lishazhuji/
丽萨主机英国GTT住宅VPS硬件测试

丽萨主机英国GTT住宅VPS硬件测试
首先看一下丽萨主机英国GTT住宅VPS的硬件测试,可以看到是用的Silver 4210处理器,双核2.20GHz的频率,CPU还行。读出来1999M的内存,没有默认的虚拟内存。读出来9.8GB的硬盘,硬盘平均读写速度310MB/s,硬盘读写速度一般。硬件整体性能还行,不过不算特别优秀。可以看到是KVM虚拟化的,VPS小学生手动安装了原生BBR。
丽萨主机英国GTT住宅VPS网络测试

丽萨主机英国GTT住宅VPS到国内外上传下载速度测试
VPS小学生的这台丽萨主机英国GTT住宅VPS是500M带宽,大部分节点下载速度基本能跑到470M,对于国人用户更重要的上传速度来说,国内和亚洲机房基本都在250M左右,欧美机房能跑到470M左右,上传下载速度还不错。
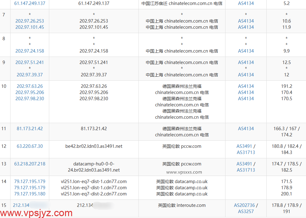
因为丽萨主机英国GTT住宅VPS禁止ping了,所以没法整体看图看延迟,不过能测试具体的三网路由,也可以看到延迟的。这里就看下英国GTT住宅VPS的三网往返路由:

丽萨主机英国GTT住宅VPS电信去程路由

丽萨主机英国GTT住宅VPS电信回程路由

丽萨主机英国GTT住宅VPS联通去程路由

丽萨主机英国GTT住宅VPS联通回程路由

丽萨主机英国GTT住宅VPS移动去程路由

丽萨主机英国GTT住宅VPS移动回程路由
可以看到,丽萨主机英国GTT住宅VPS电信去程直连德国然后到英国伦敦,延迟对于欧洲机房来说还行,回程是从法国荷兰直连回程,延迟更低;联通去程依然是从德国直连,但是延迟比较高,回程还是从德国直连回程;移动去程先绕到美国然后到英国,延迟就很高了,回程是从英国直连回程,但是延迟也很高。等于移动去程绕美国,剩下的三网往返都是直连。不过并没有走优化线路,延迟比较高,用来发视频没问题,直播的话就需要中转一下了。
丽萨主机英国GTT住宅VPS看视频

丽萨主机英国GTT住宅VPS是否原生IP检测

丽萨主机英国GTT住宅VPS流媒体解锁能力测试
至少VPS小学生随机开通的这台丽萨主机英国GTT住宅VPS是英国原生IP,能原生解锁英国Tiktok、英国Netflix、英国BBC等大部分英区流媒体,大家可以看下有没有自己需要的解锁能力。

丽萨主机英国GTT住宅VPS ipinfo.io是否住宅IP检测

丽萨主机英国GTT住宅VPS IP质量体检报告

丽萨主机英国GTT住宅VPS ping0.cc是否家庭IP检测
可以看到,在ipinfo.io检测出来丽萨主机英国GTT住宅VPS的type值一个是运营商“isp”,一个是“business”商业带宽,其实跟双ISP基本一样了。IP质量体检报告也认为是英国原生IP,流媒体解锁全绿非常优秀,不过只有一半数据库认为是家宽IP,还有一半认为是机房或者商业带宽IP。大部分数据库都认为IP纯净度非常高。25端口开放,大部分邮箱通讯也正常。当然最主要的是ping0.cc认为是双ISP家庭带宽IP,也认为是英国原生IP,IP纯净度也还行。对于做英国Tiktok的朋友来说这已经是非常不错的IP了。

丽萨主机英国GTT住宅VPS看youtube
VPS小学生本地是联通带宽,用丽萨主机英国GTT住宅VPS视频有10万+的速度,非常流畅的看4K的清晰度,对于英国住宅IP服务器来说有这个速度非常不错了。根据之前路由测试,本地是电信带宽的朋友看视频估计也是这个速度,本地是移动带宽的朋友看视频速度估计就要慢一些了。
丽萨主机英国GTT住宅VPS搭建网站

丽萨主机英国GTT住宅VPS安装宝塔建站面板
这台低配丽萨主机英国GTT住宅VPS在安装宝塔建站面板并配置默认的LNMP环境之后,还有1.4G内存的剩余,还有4GB硬盘的剩余,用来搭建个小网站资源还是够用的。因为是英国住宅原生IP,IP纯净度也高,更适合面向欧美用户搭建外贸独立站使用。
以上就是VPS小学生对丽萨主机英国GTT住宅VPS的测评。可以看到丽萨主机英国GTT住宅VPS硬件性能一般,CPU稍微好一点。到内地节点能跑250M左右,到欧美节点能跑400M左右,带宽还算比较充裕。到国内的路由对于英国住宅IP来说其实还不错,只有移动去程绕美,剩余的三网都是往返直连。看视频有10万+的速度非常流畅的看4K的清晰度,看视频速度非常快。当然最主要的是所有脚本都认为是英国原生IP,大部分脚本认为是单ISP,ping0.cc认为是双ISP,跟之前测评的目前还有货的丽萨主机英国catixs VPS正好翻过来,对于做英国Tiktok短视频外贸运营的朋友来说,如果看中ping0.cc结果,丽萨主机英国GTT住宅VPS还是非常值得入手的。当然,如果看中ipinfo.io的结果,走回程CMIN2和9929优化线路的丽萨主机英国catixs VPS套餐更合适,大家可以根据自己的判断入手。
丽萨主机最新促销活动:http://www.vpsxxs.com/tag/lishazhuji/
vps加油站

























