vmiss在日本东京除了VPS小学生前几天测评的vmiss日本东京三网优化VPS【JP.TKY.TRI套餐】,还有日本东京优化IIJ套餐【JP.TKY.IIJ】,IIJ套餐比TRI要便宜一半多了,价格比较亲民。而且至少VPS小学生测试的时候还有货的,VPS小学生这次入手的是最低配P.TKY.IIJ.Basic套餐,依然支持支付宝、Paypal、USDT,这里,VPS小学生就测试下最低配500Mbps带宽的vmiss日本东京IIJ VPS的性能供大家参考。
测评同款vmiss日本东京IIJ VPS,全部1个IPv4、3个IPv6,记得使用优惠码10%OFF
| CPU | 内存 | 硬盘 | 流量 | 带宽 | 价格(原价) | 购买地址 |
| 1核 | 1G | 10GB SSD | 500GB | 500Mbps | 5加元/月 | 点此购买 |
| 1核 | 1G | 15GB SSD | 800GB | 500Mbps | 10加元/月 | 点此购买 |
| 1核 | 2G | 20GB SSD | 1.5TB | 750Mbps | 16加元/月 | 点此购买 |
| 2核 | 4G | 40GB SSD | 2.5TB | 750Mbps | 30加元/月 | 点此购买 |
| 4核 | 8G | 80GB SSD | 4TB | 1Gbps | 60加元/月 | 点此购买 |
vmiss最新促销活动:http://www.vpsxxs.com/tag/vmiss/
vmiss日本东京IIJ VPS硬件测试

vmiss日本东京IIJ VPS硬件测试
首先看一下vmiss日本东京IIJ VPS的硬件测试。可以看到是用的AMD EPYC系列处理器,具体哪一款没读出来,读出来单核2.54Gz的频率。读出来991M内存,没有默认的虚拟内存。读出来9.9GB的硬盘,硬盘平均读写速度1.1GB/s,读写速度飞快啊。硬件整体性能强悍,可以看到是KVM虚拟化的,VPS小学生手动安装了原生BBR。
vmiss日本东京IIJ VPS网络测试

vmiss日本东京IIJ VPS到国内外上传下载速度测试
VPS小学生这台机器是最低配500Mbps带宽的,到国内包括亚洲节点基本都跑满带宽了,部分节点能还跑到2G的下载速度,从Speedtest能看到下载带宽给的是5G,对国人用户更重要的上传速度来说,电信节点竟然能跑到1.5G,联通节点也能跑400M,其他海外节点虽然波动比较大,但是也都跑到500M以上了,看来母机带宽是给的最低保证带宽500M,带宽很充裕,尤其电信速度更快。

vmiss日本东京IIJ VPS国内ping
vmiss日本东京IIJ VPS到国内的平均延迟72ms,测速节点全绿,很不错的日本节点延迟,看来至少三网直连有保障了。来看看具体的三网路由:

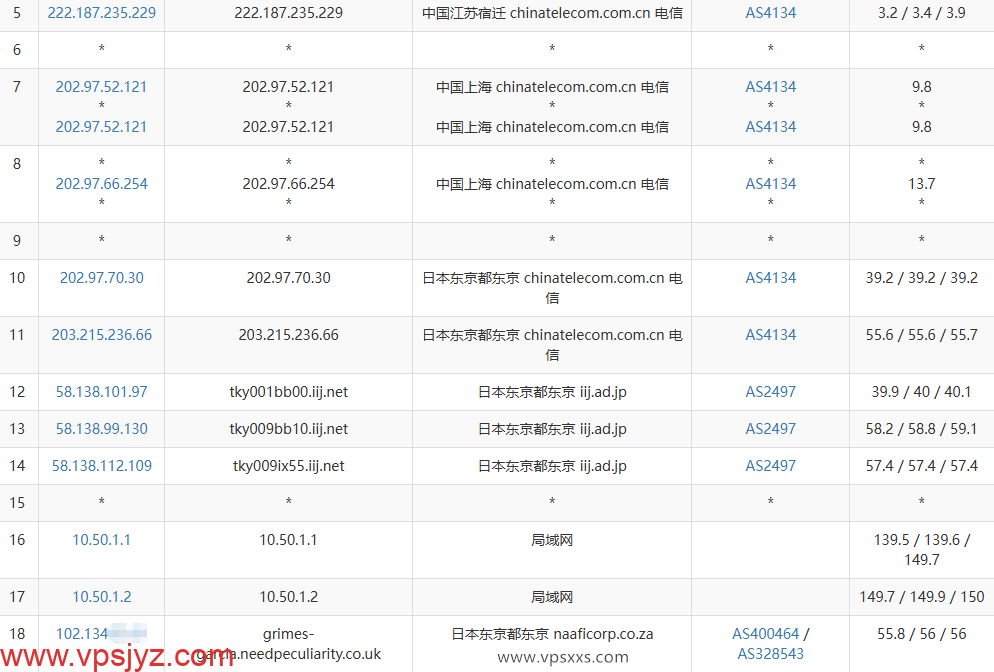
vmiss日本东京IIJ VPS电信去程路由

vmiss日本东京IIJ VPS电信回程路由

vmiss日本东京IIJ VPS联通去程路由

vmiss日本东京IIJ VPS联通回程路由

vmiss日本东京IIJ VPS移动去程路由

vmiss日本东京IIJ VPS移动回程路由
可以看到,vmiss日本东京IIJ VPS电信去程直连日本东京,就是最后一跳延迟高了些,回程也是直连回程,延迟比较低;联通去程走AS4837线路直连,延迟也低,回程都是走AS4837直连到上海回程;移动去程直连,回程也是直连。等于三网都是往返直连,很不错的日本直连线路。

vmiss日本东京IIJ VPS网络质量体检报告
从vmiss日本东京IIJ VPS网络质量体检报告能看得到三网去程波动比较大,回程都是走各自的普通直连线路,到东京机房基本没延迟,到香港机房延迟也比较低,到新加坡机房稍微就高一些了,适合当做日本家宽IP的中转机。

vmiss日本东京IIJ VPS ping.pe丢包测试
从vmiss日本东京IIJ VPS的ping.pe丢包测试这里能看到到国内的延迟其实挺低的,有小部分丢包,整体丢包率还算比较低。
vmiss日本东京IIJ VPS看视频

vmiss日本东京IIJ VPS是否原生IP检测

vmiss日本东京IIJ VPS流媒体解锁能力测试
VPS小学生随机开通的这台vmiss日本东京IIJ VPS的IPv4被判定为台湾原生IP,IPv6被判断为日本原生IP,IPv4原生解锁日本Tiktok和日本人工智能平台,Netflix等流媒体解锁的是台区,IPv6是日区全解锁,不过日本本土流媒体解锁都比较差。大家可以看下有没有自己需要的解锁能力。

vmiss日本东京IIJ VPS pingip.cn是否住宅IP检测

vmiss日本东京IIJ VPS IP质量体检报告

vmiss日本东京IIJ VPS ping0.cc是否家庭IP检测
vmiss日本东京IIJ VPS在pingip.cn检测出来是IDC机房广播IP,不过是单ISP,IP风险比较低。IP质量体检报告有一半数据库认为是家宽,有一半认为是机房IP,大部分数据库都认为IP纯净度还不错。ping0.cc同样认为是IDC机房广播IP,但是同样认为是单ISP。

vmiss日本东京IIJ VPS看youtube
VPS小学生本地是移动带宽,用vmiss日本东京IIJ VPS看视频有23万+的速度,非常流畅的看4K的清晰度。之前测试三网上传下载跟延迟其实都差不多,所以估计本地是电信带宽和移动带宽的朋友看视频也是这个速度,非优化线路日本机房有这个速度不错了。
vmiss日本东京IIJ VPS搭建网站

vmiss日本东京IIJ VPS安装宝塔建站面板
这台最低配vmiss日本东京IIJ VPS在安装宝塔建站面板并配置默认的LNMP环境之后,还有512M内存的剩余,还有5GB硬盘的剩余,搭建个小站资源还是够用的,因为到中国三网往返直连,其实挺适合面向国内用户使用的,当然建站的话最好还是用配置高一些的套餐。
以上就是VPS小学生对vmiss日本东京IIJ VPS的测评。可以看到vmiss日本东京IIJ VPS硬件性能非常强悍,最低配套餐说是500M的带宽,但是商家对带宽控制的并不严格,很多节点都跑超过带宽了,这点很不错。到国内就是普通的三网往返直连,延迟比较低,但是网络波动大一些。IP纯净度还行,所有数据库都认为是单ISP,但是是否日本原生IP判定比较混乱一些,好在解锁能力还不错。当然最主要的是看视频有23万+的速度,非常流畅的看4K的清晰度,是性价比很高的日本直连VPS。当然一分价钱一分货,vmiss日本东京IIJ VPS的稳定性、IP解锁质量跟自己的vmiss日本东京三网优化VPS还是有一定差距的,不过如果只是用来建站、看视频的话,vmiss日本东京IIJ VPS【JP.TKY.IIJ】还是非常值得入手的!
vmiss最新促销活动:http://www.vpsxxs.com/tag/vmiss/
vps加油站

























