越南商家TotHost的TOT K系列套餐VPS小学生以前测评过,根据购买时候Location的选择分为CMC线路(TotHost越南CMC线路VPS测评:越南原生IP解锁越南Tiktok/Netflix/亚马逊,三网回程直连)、VNPT线路(TotHost越南VNPT线路ISP IP VPS测评:越南ISP住宅原生IP,电信联通往返直连,Tiktok短视频外贸必备)这两个套餐。TotHost这次在TOT K系列套餐下新增了TOT K-HCM套餐,购买的时候选择FPT HCM就是这个套餐。TotHost说这个套餐是在胡志明市机房,搭配ISP原生IP,是越南电信运营商FPT Telecom的IP线路和机房。VPS小学生知道有很多做越南Tiktok、东南亚外贸直播的朋友都想要越南家宽IP VPS。TotHost因为支持支付宝、Paypal和USDT,以前国人用户已经不少了,这次VPS小学生就再测试下TotHost越南胡志明市VPS的性能供大家参考。
测评同款:TOT K11套餐(机房选第三个FPT HCM),1核CPU、1G内存、20GB SSD硬盘、无限流量、100Mbps带宽、1个IPv4、2.67美元/月(优惠码Hi5TOT,老用户可用优惠码TOTKHCM),点此购买
TotHost最新促销活动:http://www.vpsxxs.com/tag/tothost/
TotHost越南胡志明市VPS硬件测试

TotHost越南胡志明市VPS硬件测试
首先看一下TotHost越南胡志明市VPS的硬件测试。可以看到是用的是Intel Xeon系列处理器,具体哪个型号没读出来,读出来是单核2.50GHz的频率。读出来971M的内存,虚拟内存511M是因为VPS小学生在后台安装操作系统的时候用的是默认的512M,建议大家装系统的时候最少选择1G虚拟内存。20GB硬盘都读出来了,硬盘平均读写速度546MB/s,读写速度还不错。硬件整体性能还不错,可以看到是KVM虚拟化的,TotHost另外还有VMware虚拟化的,那个更方便装Windos,不过还是KVM更受国内用户欢迎。
TotHost越南胡志明市VPS网络测试

TotHost越南胡志明市VPS到国内外上传下载速度测试
TotHost越南胡志明市VPS不管是到国内还是到国外,不管是上传还是下载基本都跑满100M带宽了,对于这种“无限流量”VPS来说表现非常优异了,尤其国内节点上传速度甚至都超过了100M了,看来带宽给的很充裕。

TotHost越南胡志明市VPS到国内的延迟速度测试
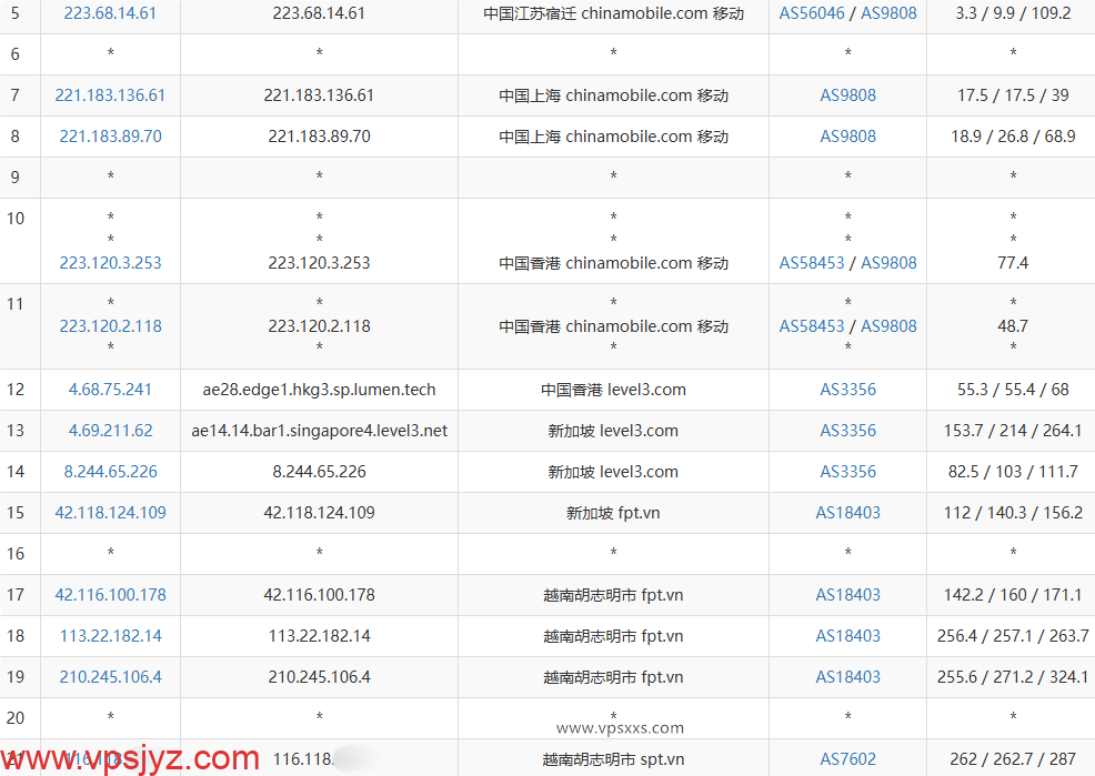
TotHost越南胡志明市VPS到国内的平均延迟323ms,这延迟高的吓人啊,看来是绕着地球转了,就算是绕路这也绕的太狠了。来看看具体的三网路由:

TotHost越南胡志明市VPS电信去程路由

TotHost越南胡志明市VPS电信回程路由

TotHost越南胡志明市VPS联通去程路由

TotHost越南胡志明市VPS联通回程路由

TotHost越南胡志明市VPS移动去程路由

TotHost越南胡志明市VPS移动回程路由
可以看到,TotHost越南胡志明市VPS电信去程已经绕美国了,结果又绕到日本,再绕到新加坡才到越南,亲娘啊,怪不得延迟高,回程大部分节点还是绕美国回程;联通去程依然是绕美国从新加坡到越南,回程大部分节点还是绕美国;移动去程只绕新加坡算好一些,回程大部分节点都是直连,延迟还低。等于电信联通往返绕美国,移动去程绕新加坡回程直连,移动路由还不错。而且能看到基本三网往返都要经过新加坡节点,如果TK直播中转的话还是新加坡机房更适合。

TotHost越南胡志明市VPS网络质量体检报告
网络质量体检报告这里可以看到TotHost越南胡志明市VPS到内地三网去程延迟其实都挺高的,就移动稍微好一些,回程的话都是三网各自最便宜路由,不过到香港、新加坡延迟挺低的,看来用香港、新加坡机房中转都合适。

TotHost越南胡志明市VPS ping.pe丢包测试
TotHost越南胡志明市VPS虽然延迟很高,但是从ping.pe看到中国的丢包还算比较少,到东南亚、美国节点基本没丢包,丢包率挺低的。
TotHost越南胡志明市VPS看视频

TotHost越南胡志明市VPS是否原生IP检测

TotHost越南胡志明市VPS流媒体解锁能力测试
至少VPS小学生随机开通的这台TotHost越南胡志明市VPS是越南原生IP,能原生解锁越南Tiktok、越南Netflix、越南人工智能平台和所有越南本土流媒体,流媒体解锁能力非常优异。

TotHost越南胡志明市VPS ipdata.co是否住宅IP检测

TotHost越南胡志明市VPS IP质量体检报告

TotHost越南胡志明市VPS ping0.cc是否家庭IP
TotHost越南胡志明市VPS在ipdata.co检测出来两个type的值都是“isp”,竟然还是双ISP啊。IP质量体检报告不但认为是越南原生IP,而且所有脚本都认为是越南家宽IP,IP纯净度极高,IP风险极低。ping0.cc同样认为是双ISP原生IP,同样也认为是越南家庭带宽IP,并且IP极度纯净。这也是VPS小学生测试的这么多越南VPS里最干净、最真实越南住宅IP的结果了。

TotHost越南胡志明市VPS看youtube
VPS小学生本地是移动带宽,用TotHost越南胡志明市VPS看视频有14万+的速度,非常流畅的看4K的清晰度。对于越南机房来说这个速度超猛了,非常不错的速度。不过之前三网测试只有移动回程直连去程也基本直连,电信联通往返不但绕路而且延迟超高,所以估计本地是电信或者联通带宽的朋友直接看视频的话速度就要差很多了。
TotHost越南胡志明市VPS搭建网站

TotHost越南胡志明市VPS安装宝塔建站面板
这台最低配TotHost越南胡志明市VPS在安装宝塔建站面板并配置默认的LNMP环境之后,还有500M内存的剩余,还有15GB硬盘的剩余,用来搭建个小网站资源还是够用的。不过因为到中国延迟高,又是越南家宽IP,更适合面向东南亚用户搭建外贸网站使用。
以上就是VPS小学生对TotHost越南胡志明市VPS的测评。可以看到TotHost越南胡志明市VPS的硬件性能还是可以的,到国内上传下载都能跑满带宽非常优秀。但是电信联通不但绕路而且延迟超高,移动去程绕新加坡回程直连延迟比较低,看视频14万+非常流畅的看4K清晰度表现非常优异,所以如果是移动用户直接使用还是非常合适的。当然意外之喜是TotHost越南胡志明市VPS不但是双ISP越南原生IP,而且所有数据库都认为是越南家庭IP,IP纯净度极高,非常适合做Tiktok短视频运营,如果是移动用户直接做Tiktok直播也是可以的。如果是电信联通用户做Tiktok vps直播的话,最好使用新加坡、香港机房中转使用。新加坡优化线路目前太贵了,如果用新加坡机房中转的话可以用Evoxt马来西亚优质网络(Evoxt马来西亚VPS测评:马来西亚原生IP,三网回程CN2直连,看视频10万+速度)或者印尼优质网络(Evoxt印度尼西亚VPS测评:看视频17万+速度,三网回程GIA电信去程CN2 GIA,东南亚Tiktok直播中转必备),如果用香港机房中转的话,就直接用DMIT香港CN2 GIA(DMIT香港CN2 GIA VPS测评:香港原生IP看视频16万+,延迟超低,回程三网CN2 GIA,去程电信GIA移动CMI联通4837(Pro))。总之,移动用户可以直接入手,做Tiktok运营的朋友也非常适合入手,只是Tiktok直播需中转。TotHost越南胡志明市VPS的性价比挺高的,有需要的朋友趁是新IP段还是赶紧入手吧!
TotHost最新促销活动:http://www.vpsxxs.com/tag/tothost/
vps加油站


























