老牌Tiktok住宅IP VPS商家六六云之前已经有了美国/英国双ISP、中国台湾/香港/韩国原生IP VPS套餐了,这次又上线了德国机房,说是双ISP属性全新德国原生IP,支持tiktok。六六云因为有很多做Tiktok运营的朋友喜欢的机房,又支持支付宝,国内用户不少,这里VPS小学生就再测试下六六云德国原生IP VPS的性能供大家参考。
测评同款:1核CPU、1G内存、20GB SSD硬盘、1TB月流量、1Gbps带宽、1个IPv4、优惠后:54元/月(优惠码vpsxxs9),点此入手
六六云最新促销及优惠活动:http://www.vpsxxs.com/tag/liuliuyun/
六六云德国原生IP VPS硬件测试

六六云德国原生IP VPS硬件测试
首先看一下六六云德国原生IP VPS的硬件测试。可以看到是用的AMD EPYC 7K62处理器,单核2.60GHz的频率,CPU真舍得用好的。读出来991内存,没有默认的虚拟内存。20GB硬盘都读出来了,硬盘平均读写速度363MB/s,硬盘性能一般。整体硬件性能还不错,可以看到是KVM虚拟化的,用的是后台安装系统的时候自带的BBR。
六六云德国原生IP VPS网络测试

六六云德国原生IP VPS到国内外上传下载速度测试
可以看到六六云德国原生IP VPS的上传下载端口确实都是1Gbps的,下载速度国内节点基本都是在700M左右,对国人用户来说更重要的上传速度来说,国内和亚洲节点基本都在400M左右,上传速度还行。英国、法国这些同在欧洲的机房基本都能跑满带宽了。

六六云德国原生IP VPS国内ping
六六云德国原生IP VPS到国内的平均延迟255ms,对于欧洲机房来说延迟也有点高了,中国到德国是有优化线路的,不过这个延迟肯定是没走优化线路了,不过也正常,毕竟这款套餐主打的是德国双ISP原生IP。来看看具体的三网路由:

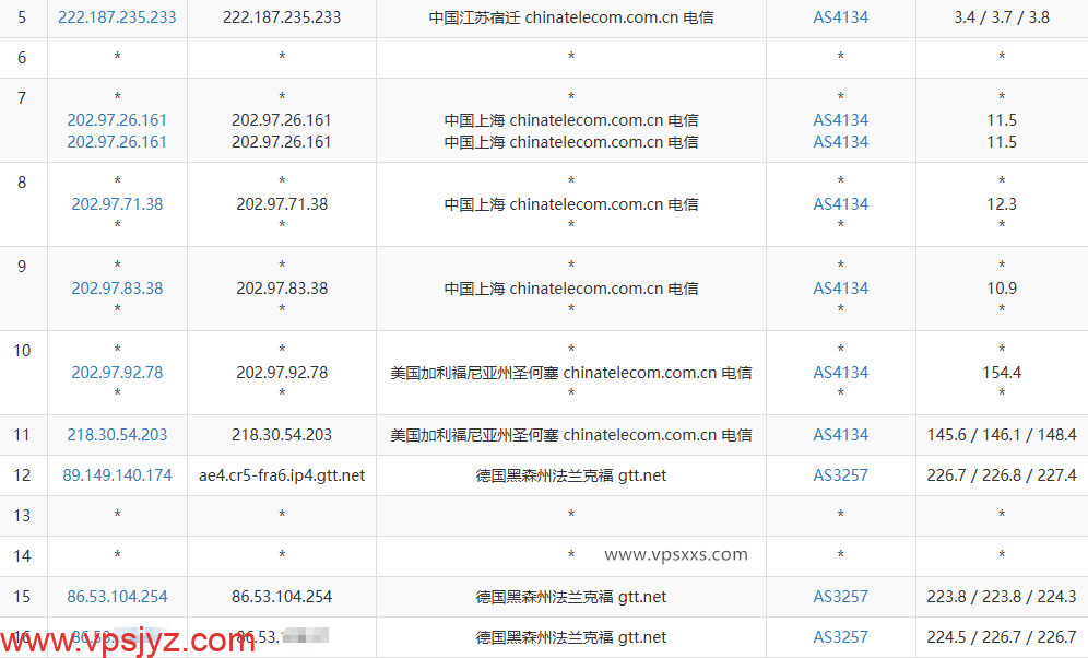
六六云德国原生IP VPS电信去程路由

六六云德国原生IP VPS电信回程路由

六六云德国原生IP VPS联通去程路由

六六云德国原生IP VPS联通回程路由

六六云德国原生IP VPS移动去程路由

六六云德国原生IP VPS移动回程路由
可以看到,六六云德国原生IP VPS电信去程先绕到美国然后到德国,怪不得延迟高,不过回程倒是从德国直连回程的,不过延迟也高;联通去程是直连法国,延迟比较低,回程也是直连回程延迟较低;移动去程也是直连,不过延迟较高,回程也是直连回程。等于除了电信去程绕美国,剩余的三网往返都是直连,路由倒是还行,就是延迟比价高。从图中也能看到是GTT的线路,这就是为住宅IP打下伏笔了。

六六云德国原生IP VPS网络质量体检报告
从网络质量体检报告也可以看到延迟大部分都比较高,确实是GTT的线路,电信走163、联通AS4837、移动CMI,并没有走优化线路的节点。
六六云德国原生IP VPS看视频

六六云德国原生IP VPS是否原生IP检测

六六云德国原生IP VPS流媒体解锁能力测试
至少VPS小学生随机开通的这台六六云德国原生IP VPS确实是德国原生IP,能原生解锁德国Netflix、德国Disney+、德国人工智能平台和所有德国本土流媒体,不过Tiktok解锁的是英国Tiktok,大家可以看下有没有自己需要的解锁能力。

六六云德国原生IP VPS ipinfo.io是否住宅IP检测

六六云德国原生IP VPS IP质量体检报告

六六云德国原生IP VPS ping0.cc是否家庭IP检测
从ipinfo.io可以看到,六六云德国原生IP VPS两个type的值都是“isp”,确实是双ISP无疑了。不过IP质量体检报告认为是广播IP,但是大部分数据库又认为是德国家宽IP,大部分数据库也认为数据库非常纯净,并且25端口开放,大部分机房邮箱服务器都能正常通讯,这点很不错。VPS小学生知道很多做Tiktok运营的朋友看IP都是参考ping0.cc,ping0.cc这里认为是德国家庭带宽IP,也认为IP纯净度非常高,不过同样认为是广播IP,大家可以参考上面的结果自行判断,VPS小学生认为是可以认为是德国原生IP和德国家庭IP的。

六六云德国原生IP VPS看youtube
VPS小学生本地是联通带宽,用六六云德国原生IP VPS看视频有9万+的速度,非常流畅的看4K的清晰度。对于欧洲机房,而且不是优化线路的套餐来说这个速度不错了。根据之前路由和上传速度的测试,本地是电信带宽和移动带宽的朋友看视频速度估计就会差一些了。
六六云德国原生IP VPS搭建网站

六六云德国原生IP VPS安装宝塔建站面板
六六云德国原生IP VPS在安装宝塔建站面板并配置默认的LNMP环境之后,还有530M内存的剩余,还有14GB硬盘的剩余,用来搭建个小网站资源也是够用的。因为是德国家庭IP,更适合面向欧洲用户搭建外贸独立站使用。
以上就是VPS小学生对六六云德国原生IP VPS的测评。可以看到六六云德国原生IP VPS硬件上CPU性能不错,其他就比较一般了。到国内的延迟比极高,基本上是三网往返直连,没走优化线路。1Gbps带宽国内基本上都能跑到400M左右还不错,看视频有9万+的速度比较适合联通用户入手。当然最主要的是确实是德国原生IP,应该是租用的GTT的德国家庭IP服务器,德国双ISP家宽IP VPS还是比较少见的,25邮箱端口开放,ping0.cc判定德国家庭IP并且IP纯净度高,如果有德国本土IP需要的朋友,六六云德国原生IP VPS还是非常值得入手的。
六六云最新优惠价及促销活动:http://www.vpsxxs.com/tag/liuliuyun/
vps加油站

























